Index 
 
 
 
 
 
Applications 

Products 

Contact 

 
 

 
 
 
 
Previous  Connections for 25 mm and 40 mm square tubes Next 
     
 
 
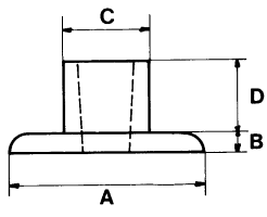
Plaque de base
 
 
 
50
5
21
18
 
 
 
 
Centurion
www.centurion.fr
raccords@centurion.fr
+33 (0)4 74 20 05 41